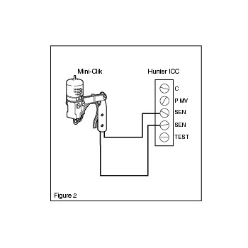
Hunter MINI-CLIK – датчик дождя для автоматической системы полива. MINI-CLIK является разработкой Hunter Industries для остановки системы, на случай когда пойдет дождь.
Mini-CLIK. Особенности:
Витрина оборудования
Датчики Hunter MINI-CLIK
Датчик Hunter MINI-CLIK